Pelvic Pain During Pregnancy When Sitting?

If sitting has become an uncomfortable part of your pregnancy, you’re not alone.

Desk chairs, driving, dining, sitting at the dinner table, and even your couch can make pain worse without the right support.

This guide explains why pregnancy pelvic pain happens — and how the right cushion can make daily life feel normal again.

pregnancy pelvic pain

The Way You Sit Might Be Making Things Worse

During pregnancy, your pelvis becomes more sensitive to pressure, and most everyday seats place that pressure in the wrong places.

Hard chairs, deep couches, and car seats often load weight into:

  • The pelvic floor

  • The pubic bone

  • The tailbone

  • The soft tissue around the sit bones

All of these areas are already working harder during pregnancy. When pressure lands here, discomfort builds quickly, especially during:

  • Working at a desk

  • Driving even short distances

  • Sitting at a table

  • Trying to relax on the couch

  • Walking in public (stores, offices, parks)

If you notice that sitting anywhere feels uncomfortable — or that standing up afterward feels even worse — it’s usually the seat, not you.

👉 That’s why the surface you sit on matters more than people think.


Shop Pelvic Pain Pregnancy Cushions


How the Right Seat Cushion Will Help

A good seat cushion helps take pressure off the areas that are already overstressed, so sitting doesn’t become another thing you have to push through.

The right cushion can help relieve:

  • Deep pelvic aching

  • Sharp pain when standing up

  • Burning or nerve discomfort

  • The pressure that makes sitting — or even relaxing — uncomfortable

With proper support, sitting becomes something that helps your pregnancy — not something that hurts.

pregnant woman sitting at a park

Try Our Patented Cushions for Relief

Many people try to fix pregnancy pelvic pain with whatever seat cushion they can find on Amazon or Target.

But most cushions aren’t designed to support a pelvis in the right way.

Common cushions:

  • Memory foam cushions

  • Ergonomic cushions

  • Donut hole cushions

…might feel soft, but softness alone doesn’t remove pressure. It actually pushes upward into the exact areas that feel tender during pregnancy.

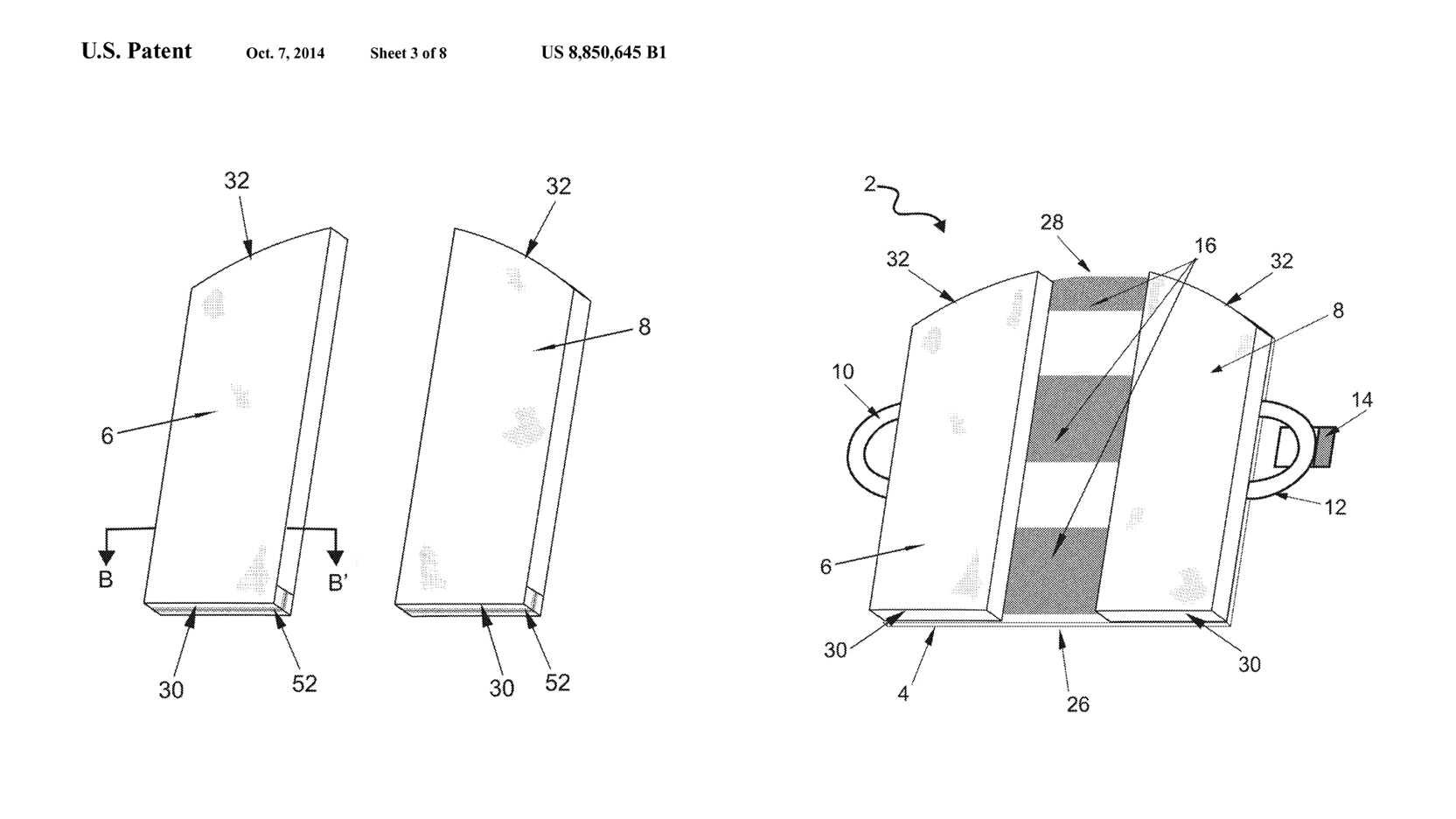
This is where our patented design makes ALL the difference.

  1. Dual-panel structure. Instead of one large pad, your cushion has two raised side panels. These lift and support your sit bones, where your body is naturally meant to carry weight.

  2. A center channel (the “pressure-free zone”). The space between the panels means your pelvic floor, pubic bone, and tailbone aren’t pressed into. This reduces irritation, nerve flares, and aching.

  3. Better alignment while sitting. Most pregnant women naturally lean back or forward when they’re uncomfortable. Our cushion helps your pelvis settle into a more neutral, balanced position — without forcing you into it.

  4. Portable comfort anywhere you go. You can fold the two handles together, “close” the cushion, and bring it to work, restaurants, or appointments.

If sitting hurts, you shouldn’t lose comfort just because you left home.

Not feeling relief? Sometimes you just need a different thickness or foam type. Reach out — we help match you with the right version.

patented pelvic pain cushion your assets

Our US Patented pelvic pain cushion was designed for you in mind. It solves the pressure problem the way other cushions don’t.

Ready to Enjoy Sitting Again?

If sitting has become uncomfortable, the right cushion can make a real difference.
Our patented design supports your pelvis where it needs it most, so you can sit with less pressure and more relaxation throughout your pregnancy.

You deserve to feel better while you work, drive, rest, and enjoy time with friends and family.

pregnant woman enjoying dinner with friends
Shop Pelvic Pain Pregnancy Cushions

Want to Learn More?

Stay in touch! Be the first to know about discounts, news, and answers to your most common questions about pelvic pain.

Chrisie

Are you trying to build a business but struggling to make progress because you’re dealing with unhealed trauma, heartbreak, or ADHD? Come Sit By the Fire in The Velvet Room, gorgeous. Let your nervous system settle and tell me what’s going on. Together we’ll figure out what your body and soul need so you can be aligned with your work again. When you’re ready, we’ll move to The Drawing Room for a Whiteboard Session, gather all the information needed, and design a path forward so you can finally create a business your proud of.

https://chrisieallen.com
Previous
Previous

Pelvic Pain When Sitting: What You Should Know

Next
Next

What’s the Best Cushion for Pudendal Nerve Pain?