What’s the Best Cushion for Pudendal Nerve Pain?

If you’ve ever felt burning, tingling, or stabbing pain while sitting—especially deep in your pelvis—you may be dealing with pudendal nerve pain (also called pudendal neuralgia).

This delicate nerve runs through the pelvic floor, controlling sensation and function in areas most people don’t like to talk about. When it’s irritated or compressed, even simple things like driving, working, or enjoying dinner can feel impossible.

The good news? Relief is possible—and it starts with how you sit.

What Is the Pudendal Nerve and Why Does Sitting Hurt So Much?

The pudendal nerve travels from your lower spine through the pelvis, branching out near the sit bones and perineum. When you sit, especially on hard or flat surfaces, pressure builds right where this nerve runs—causing pain, numbness, or burning.

Over time, that pressure can lead to chronic irritation. People often describe the sensation as sitting on a rock, a bruise that never goes away, or a constant vibration.

That’s where the right support cushion can be life-changing.

What to Look for in a Pudendal Nerve Cushion

Not all cushions are created equal. In fact, the wrong one can make symptoms worse by placing pressure on the exact area that needs relief.

Here’s what pelvic health experts recommend:

  1. A center or U-shaped cut-out: Removes pressure from the perineum and coccyx (tailbone), allowing the pudendal nerve to decompress naturally.

    • Donut cushions create a ring of pressure around the sensitive area and can actually worsen pudendal nerve pain by forcing the soft tissue to sag into the gap, increasing tension on the very nerves and muscles that need relief.

  2. Firm but forgiving support: Too soft = sinking and more pressure; too hard = zero give. Look for medical-grade foam or hybrid materials that hold your shape while absorbing weight evenly.

  3. Proper width and contour: A good cushion supports your sit bones, not just the tailbone. Choose a design that matches your body frame and chair size.

  4. Portability and hygiene: Washable cover, easy to carry for work, car, or travel.

💡 Pro Tip: Avoid “inflatable” cushions for long-term use—they often create uneven pressure zones that aggravate pelvic nerves.

Ergonomic cushion for pudendal nerve pain relief

Our Doctor-Approved and US Patented Pelvic Pain Cushions

Bottom-angle photo of the Cushion Your Assets cushion clearly showing the cut-out design best for Pudendal Nerve pain relief.

Consider Our Patented Cushions

Cushion Your Assets cushions aren’t just another seat pad. They’re U.S.-patented for a design that actually changes how your body experiences sitting.

Instead of one flat surface, each cushion features two independent panels with a center channel that runs front to back. This unique structure removes pressure from the perineum and tailbone—the exact area where the pudendal nerve is most vulnerable—while still supporting your sit bones and hips evenly.

The result? You sit without compression, without pain, and without compromise.

Our patented dual-panel design also opens and closes slightly using built-in handles, allowing it to adapt naturally to your body’s shape and movement. Whether you’re working, driving, or healing, it keeps you comfortably supported in every setting.

Because when it comes to pelvic comfort, the right design isn’t a luxury—it’s a lifeline.

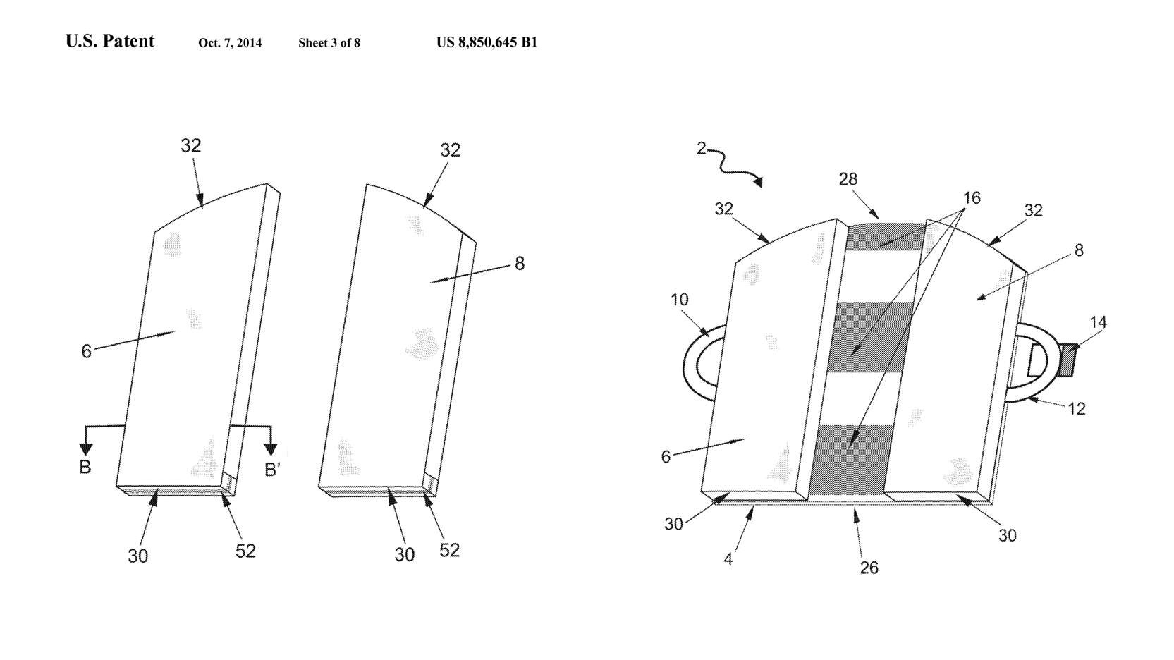
Diagram from U.S. Patent 8,850,645 showing the Twin Cheeks pelvic pain relief cushion with dual-panel design, center pressure-relief channel, and side handles for adjustable support.

Everyday Tips for Sitting with Pudendal Neuralgia

While the right cushion is essential, you can improve comfort even more by adjusting how and where you sit:

  • Shift often: Change positions every 20–30 minutes.

  • Use a standing desk or high stool for parts of your workday.

  • Keep knees slightly lower than hips to reduce pelvic tension.

  • Stretch gently—hip openers, pelvic tilts, and diaphragmatic breathing can help decompress the area.

Remember: small posture changes can make big differences over time.

When to See a Specialist

If your pain persists for more than a few weeks—or if it’s affecting your daily life—it’s worth seeing a pelvic pain specialist. They can help identify whether the pudendal nerve, pelvic floor muscles, or joint alignment is the main source of pain.

Need help finding a trusted provider? Visit our Pelvic Pain Clinic Provider Directory for a current list of our trusted partners in Pelvic Health!

The “Bottom” Line

Finding the best cushion for pudendal nerve pain isn’t about luxury—it’s about quality of life. The right design relieves pressure where it matters most, helps you sit longer with less pain, and supports your healing process every single day.

You deserve to sit without fear of pain. Start with the cushion made for comfort, confidence, and recovery.

Chrisie

Are you trying to build a business but struggling to make progress because you’re dealing with unhealed trauma, heartbreak, or ADHD? Come Sit By the Fire in The Velvet Room, gorgeous. Let your nervous system settle and tell me what’s going on. Together we’ll figure out what your body and soul need so you can be aligned with your work again. When you’re ready, we’ll move to The Drawing Room for a Whiteboard Session, gather all the information needed, and design a path forward so you can finally create a business your proud of.

https://chrisieallen.com
Previous
Previous

Pelvic Pain During Pregnancy When Sitting?

Next
Next

Why me?